【連載】文房具百年 #70「単語カードと暗記器・記憶器2」
始まりは別々
前回は、単語などを暗記するための道具「暗記器・記憶器」の類を紹介した。仕切りが動いたり、中のカードが自動的に入れ替ったりと、何らかの仕掛けが付いているタイプだ。そして今回は、よくある紙の単語カードや、暗記器・記憶器についても単にカードを入れるケースで、形状に多少の工夫がされている程度のシンプルなものを紹介する。
仕掛けがあるタイプとシンプルなカードやケースのどちらも単語などを覚えるためのもので、私のコレクションとしてはひとまとめになっている。だが、集めるに至ったきっかけは 別々で、前回紹介した仕掛け付きの暗記器・記憶器は骨董市で「オートメモ」(※前回の記事を参照ください。https://www.buntobi.com/articles/entry/series/taimichi/021356/)を見つけて、面白いと思ったのが始まりだ。
そしてシンプルなカードやケースは、あるサービス券がきっかけだった。
高木カード社ゼブラ印の単語カードと記憶器
古文房具を集め始めて間もないころ、よく文房具店回りをしていた。その時に箱に入った単語カードを見つけた。箱にただの白いカードが入っているだけのものだが、箱に書いてあるゼブラのマークがかわいらしくて惹かれた。価格も20円とはかわいらしいではないか。
当時、文房具店の方から「20円だけど、古いものなので10円でいいわ」といわれたのをよく覚えている。(20円で購入した)
それがこのカードだ。
ゼブラのマークだが、筆記具のゼブラではないようだ。さて、メーカー名はないだろうか。
あちこち見ていると箱のふたの裏に張り付くように紙が付いていた。
ご愛用優待券だ。会社名は高木カード社であることがわかった。この券を集めると「記憶器」がもらえる。さらに、“好評につき、シメ切なく永久に有効”という現実を見ていない設定も面白い。
今でこそ、「記憶器、ああ、あれね」とすぐに思い浮かぶくらいには知っているが、当時は記憶器がどんなものかもまったくわからず、知らない分とてもわくわくした。
「これ、見つけたい。」
そう思った瞬間、私のコレクションに単語カードが加わることが決まった。
カードケース状の記憶器・暗誦器
さて、優待券は集められなかったが、ゼブラ印の記憶器は、幸運なことに探し始めてほどなく見つけることができた。
ゼブラ印に限らず、単語カードと記憶器は、意外と骨董市やアンティークショップなどでいろいろな種類が見つかったので、順に紹介していこう。
最初にゼブラ印高木カード社の暗誦器だ。サービス券を集めてもらえるタイプは2種類あるようだが、それ以外の種類もあり、色やサイズ、形のバリエーションが多い。カードを入れるだけなので、機能としては特段面白いわけではないが、セルロイドの色と質感、ゼブラのマークや文字の字体が素敵だ。



使い方はどれも同じで、中にセットしたカードの片面だけ見える窓が開いている。反対面を確認するときは、ケースから抜き出す。その後はまたケースに戻す。それを繰り返すとカードが一巡するようになっている。
ケースの底面に当たる部分が、カードを上にもちあげるバネのような作りになっており、一定量のカードが入っていれば、カードを1枚抜いても、窓の部分に次のカードが押し上げられた状態になるように作られている。
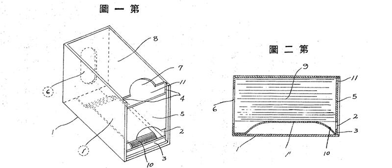
*このタイプの記憶器・暗誦器の特許画像。右の図のように底面が挙げられている。なお、高木カード社は単語カード、記憶器ともに特許の登録はないと思われる。
このタイプの暗誦器・記憶器は類似のものが複数メーカーから出ているので、一時期定番であったのであろう。また、並べてみると特許の番号が入っているものが多いことに改めて気づいた。簡単な構造の道具なので、チョットした工夫を追加しやすかったであろう。
残念ながら、これらの特許の情報は特定できなかったのだが、下段右端のNEW AUTOMATICCARD-CASE(No.282926)について時代が特定できた。
早稲田式英語単語練習器という名称で、昭和16年の早稲田大学出版部の雑誌の広告に掲載されている。また、特許を見ていくと同様のカードケース型記憶器・暗誦器が昭和14年以降に見られることから、大体そのころに使われだして、昭和30年代頃まであったと推測される。
※『早稲田大学建築講義』16,早稲田大学出版部,昭和16. 国立国会図書館デジタルコレクション
https://dl.ndl.go.jp/pid/1023101 (参照 2025-12-10)より
*色や形がかわいらしい単語ケース
*特定できないが形が似ているので前出のピンクと緑のカードケースの特許ではないかと思われる。昭和14年(実公昭14-017871)
*木製の単語暗誦器。木製にすることでどういう特長を出したのか、特許の申請内容を見てみたい。
カードケース状の記憶器・暗誦器用の白カード
この暗誦器・記憶器にセットして使う用紙は、穴が開いていない少し厚手の紙でできた「単語カード」である。暗誦器・記憶器のサイズは大体同じ形・サイズなのでカードもメーカーが違っても汎用的に使えたと思われるが、記憶器・暗誦器を作っているメーカーはほぼ単語カードも作っていたようだ。
ちなみに、このただの白い単語カードをコレクションする上での魅力は、パッケージのデザインや、暗誦器とセットのものだと嬉しいといったところだ。ここでは、カードケースのデザインを紹介しておこう。
*高木カード社ゼブラ印の単語カード
*昭和20~30年代頃だろうか。単語カードといった教材に近いものは地味なデザインが多いのだが、これらは色鮮やかで華やかなデザインだ。右上の「KARD」は意図的なものかCARDのスペルを間違えたのかが気になる。
*三英社時代のサンスター文具の記憶器と専用単語カード(白カード)。三英社からサンスター文具への社名変更は昭和34年。
リング式単語カード
暗誦器で使うリングのついていないカードについて、集め始めた当初は「リングのついた単語カードができる前のもの」と思っていた。当時(10年以上前)は、単語カード類もそんなに持っていなかったし、調べるにも情報がなかった。だが、10年もたつと、モノも情報も増えているなか、改めて「リングのついた単語カードは何時からあった?」という点が気になった。
調べてみたところ、どうやらリング付きのカードも昭和10年頃には存在したようだ。根拠として昭和10年頃のものと思われる組み合わせ文具(文房具のセット)の中に単語カードが入っている。また、昭和10年発行の針灸関連の雑誌の広告にリングのついたカードが映っている写真がある。説明を読むと白いカードではなく、最初から記憶する内容が印字されているタイプのようだが、「表と裏に対となることを記載して覚える」という、いわゆる単語カードの使い方なのでリング式単語カードの初期のものとした。
*単語カードといっても外国語の単語を覚える以外にも用途は多い。これはツボと効果を覚えるために作られたものらしい。
出典:坂本貢 編『鍼灸医・療術師・整骨師・産婆用人体解剖図譜』,東京高等鍼灸医学校出版部,昭和10. 国立国会図書館デジタルコレクション https://dl.ndl.go.jp/pid/1076335 (参照 2025-12-10)
*松坂屋組合せ文具、昭和10年頃。リング式単語帳が2つセットされている。
なお、カードにリングを通した形状のものとしては、大正時代からカード式の人名簿があったし、一つの面に日本語と英語両方を記載する「単語ノート」を綴じるのにリングが使われていたタイプも大体それくらいからあった。そこから、単語カードの一般的な使い方「表を見てひっくり返して裏を見て確認する」になったのが、おそらく昭和10年頃なのだろうと整理した。
*上:伊藤呉服店(現松坂屋)の人名簿(アドレス帳)、大正頃。下:単語カード 詳細不明昭和・戦前頃。
*中の罫線が単語ノートタイプの単語帳。中に記載されていたメモの内容より、大正期と推定。
*公定価格のマークが入っている単語カード。推定昭和18年頃。右側のリングは、戦時中に金属の代用品としてよく使われたベークライト製。
*リング式の単語カードいろいろ。推定昭和20~40年代頃
最初の単語カード
この連載を書くにあたって、物自体の面白さや素敵なところと合わせて、歴史や背景などに興味を持つことが多い。単語カードについても「最初はいつ?」で「どこから?」なのかというのが気になった。
それというのも、単語カードに興味を持つきっかけとなった「高木カード社」が、最初に単語カードを作った会社ではないかと思われる情報があるからだ。
「全国文具紙製品商工業界団体史」(昭和35年全国紙工通信社発行)に、半ページの高木カード社についての紹介があり、それには以下のような記載がある。
・元は明治38年から紙製品の製造を行っていた
・先代※1の高木茂雄氏が、大正初期に現在の単語カードの初期製品を創案した
・単語カードを作り出したのはたまたまだった
・最初は売れなかったが、昭和初期に学生に人気が出て、よく売れるようになった
ここに書いてあることをそのまま信じるとすると、大正初期に「創案」したならば時期的にも最初期に当たる。昭和になって売れるようになったという点も、昭和10年以降に他社製品も増えていることから、なんとなく辻褄が合うようで、情報全体に信憑性があるように感じる。
ちなみに、日本の文房具は殆どが明治以降に欧米から輸入されたものが原型となっているが、単語カードについては欧米で使われていたという情報がない。従って「日本が最初だといわれていたが、実が欧米では100年前からあった」、ということもない。
だが、この高木カード社に関する情報の裏付けとなる一次情報が全く見つからない。昭和10年の時点で「高木カード社」が存在していたことはわかったが、それ以前の情報が見つからない。
情報が見つからない=間違えている、ということではなく、「単語カード」があまりにピンポイントであること、高木カード社が、どうも単語カード中心の会社で規模も大きくなかったことなどで情報が残っていないのだと思われる。
更に高木カード社に関する記述をよく読むと、考案した単語カードについても「現在の単語カードの初期製品」がどういうモノかわからない。
高木カード社の単語カードは、記憶器とセットで使用する白カードだ。となると、「現在のカード」=白いカードとなり、その初期製品となると、単に厚手の紙を小さく切ったものに「単語カード」と名前つけて、使い方の説明を加えたものなのではないか。
そうなると、単語カードの初期製品は、商品としての工夫というより、ただの紙きれだが打ち出し方がうまかった一例というものだろうか。それはそれで「高木カード社の初期製品」をパッケージや広告(あれば)と一緒に見てみたいものだが、若干煙に巻かれた感がある。
そしてこの話のゴールだが、情報もモノも確かなものがないので、先に進めなくなってしまった。通常は「これから頑張って探してみよう」と思って終わるのだが、ごく小さい会社が作っていた100年くらい前のただの白いカードとなると、見つからないか、見つかってもそれとわからないだろう。
地道に探していれば、高木カード社が大正時代からあったことが確認できるものくらいは、見つかるかもしれないな。せっかくなので、せめてそれくらいはいつか見つけたい。
※先代:昭和35年当時の先代。現在高木カード社は存在しない。



